Sneaker School - Day 2

I came in early on Day 2 because I wasn't very confident in the accuracy of my patterns.  After removing loose threads and adhesive from the edges and being more deliberate, the re-cut patterns were ready to roll.

Normally, the left and right shoe are made with different patterns.  For time and simplicity, we used one pattern to make the left and right shoe.  We had to take extra effort to ensure that certain pieces were symmetrical.

Next was material selection.  Ecco Leather had so many different colors and textures that it was tough to decide on the 2-3 to work with.

The pair I deconstructed had a white/red outsole, so I knew it was best for the swoosh to match the outsole. 1st color - Red.  The design of the AJ 1 incorporates a straight lines throughout (see below), so I wanted to pick a textured natural pattern to offset those lines but also connect with the outsole.  2nd color - black and white textured natural pattern.  I went with a natural white leather to balance the pattern.  3rd color - white leather.

Air-Jordan-1-341.jpg

 

Along with the base materials, I choose two accent pieces, a hexagonal stamp pressed leather, along with a swatch of my own deconstructed Airmax 2016 FlyKnit's.   The hex and flyknit pieces are my way of infusing technology and personal inspiration into my design.

Here are the four materials I selected for my AJ 1 (brought to you by Ecco Leather.)

Next step was tracing the pattern onto the leather pieces and cutting the material.

The end result from day 2.

UP NEXT - DAY 3 - Skiving and Sewing

The future of footwear

Imagine a time in the not too distant future. 

You will walk up to a automated machine in the mall, put on a headset and begin to design you own shoes.

Nike's recent patent for augmented and mixed reality technologies.

Nike's recent patent for augmented and mixed reality technologies.

When the upper and midsole designs are finalized, it's sent over to two separate machines, where the upper and midsoles are printed out. The upper is a flat knitted.  The midsole would either be 3D printed, or fully injection molded and kept in on-site inventory.

For this scenario to become a reality, the next step in the process, the bonding of the upper to the midsole, would have to be automated.

From the two videos above, and for 99% of shoes created today, the upper/midsole connection is a hands-on labor intensive process.

I believe that bonding process is the biggest constraint to the future of the rapid manufacturing in the footwear industry.

Count the number of hands that were involved in the manufacturing of these ultraboosts below.


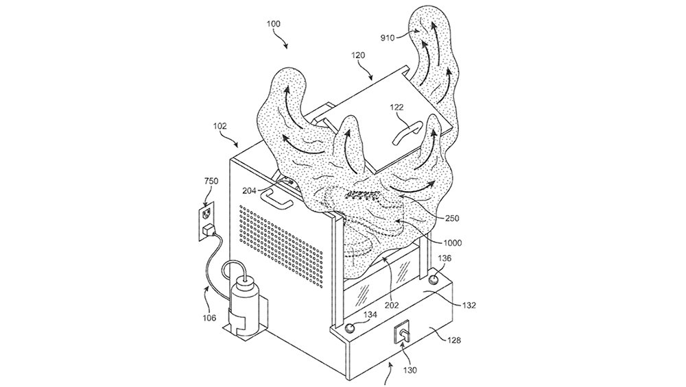
Nike, recently submitted a patent for a steamer used on a knitted upper to give the consumer a one of a kind fit.

I think something else could be going on.

With water activated adhesives already in use in the industry, this steamer box could become part of a new process to bond the upper to the midsole.  If the fibers were coated in a water activated adhesive, then knitted on the base of the upper and the perimeter of the shoe, you could potentially create a strong enough bond between the upper and the midsole during the steaming process.  When the customer tries on the shoes for the first time, they would apply pressure to the upper/midsole bond and form the shoe to their foot.

Another possibility, would be to mechanically knit the upper directly to the midsole during the initial manufacturing steps.  The design of the midsole would have to be modified to allow for fibers to loop through and provide support. 

Below is the concept in action on the Nike Considered line back in 2007.

Nike Considered Long Ball Slip-On

Nike Considered Long Ball Slip-On

With negative environmental effects from shipping, labor costs rising, and the demand customized products, I'm know Nike and Adidas have something cooking in the kitchen.

Sources

http://www.investors.com/news/flyknit-future-nike-files-for-portable-shoe-steaming-box-patent/

https://hypebeast.com/2007/9/nike-considered-long-ball-slip-on

http://uploadvr.com/nike-ar-system-design-clothes/